Skontaktuj się z nami

Telefon

Polska

+48 58 762 17 80

Formularz kontaktowy

Z przyjemnością odpowiemy na Twoje pytania.

> Kontakt

FASTEKS KLIPKO® Nakrętki klatkowe typ ZI

M4-ZI-083-35

Wykonanie

Klatka:stal sprężynowa ocynkowanaNakrętka:stal ocynkowana
Inne wykonania na zapytanie

Specyfikacja techniczna

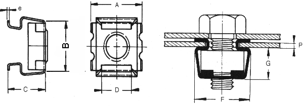
Gwint

M4

Zakres zacisku P

2,6 - 3,5 mm

Otwór montażowy N x N ±0,1

8,3 x 8,3 mm

G

6,1 mm

Dane 3D dostępne

Oznaczenie

M4-ZI-083-35

Wskazówka

Przy podłużnych otworach szerokość szczeliny należy zredukować o ok. 0,3mm.

Wymiary nakrętki

L10 x B10 x H4,5 mm

Lochmaß Kennziffer

3

A

12,0 mm

B

11,4 mm

C

10,6 mm

D

7,0 mm

e

0,45 mm

F

12,2 mm

Klasa wytrzymałościowa

Klatka: stal sprężynowa, ocynkowanaNakrętka: stal ocynkowana

Dowiedz się więcej

Pasujące narzędzia